Ich bastele gerade an einer Sprachsteuerung für die Beleuchtung in meinem Wohnmobil, ich habe ja bereits eine Alexa eingebaut.
Für das Internet habe ich eine Fritzbox 6850 (LTE UND 5G) eingebaut.
Dazu habe ich nun eine 4 Kanal Relay Platine gekauft, welche sich mit der Alexa steuern lässt.
Alexa steuert diese Platine drahtlos über W-Lan an.
Dieses Modul lässt sich so einstellen, dass beim Befehl " Alexa Licht an" nur ein kurzer Impuls kommt. Insgesamt kann ich 4 verschiedene Lampen / Geräte steuern.
Die Relays Platine werde ich mit einen dünnen Flachbandkabel an das kleine Bedienteil an der Türe anschließen, dieses muss dort angelötet werden.
Wenn man die Lampen / Geräte direkt über die Relays steuern möchte ohne über das Tastenfeld vom Fahrzeug zu gehen, kann man das Relay Modul auch so einstellen, das das Relay gehalten wird, bis der Ausschalt Befehl " Alexa Licht aus" kommt.
Auf dem Tisch zum testen funktioniert alles bereits Alles muss nur noch ins Fahrzeug eingebaut werden.
Das Ganze kann man natürlich auch zuhause verwenden um Geräte per Sprachsteuerung zu steuern. Die Platine gibt es auch mit 2 Kanälen und auch eine 230 Volt Version für zuhause.
Die Relays bzw. das Licht lassen sich dann auch über die dazugehörige App auf dem Smartphone steuern. Es geht also auch ohne Alexa.
Die Alexa kann ja auch noch viel mehr, Musik machen, den Kindern ein Schlaflied singen (Alexa sing ein Schlaflied), die Wettervorhersage vom Zielort ansagen, Wecker stellen etc.
Die Alexa läuft natürlich nicht ohne Internet. Die Alexa selbst gibt es übrigens auch als App für das Smartphone.
Man kann das Ganze auch mit Google Steurern, wenn man ein Android Smartphone hat. Die Relay Platine funktioniert auch mit Google. "Hey Google, schalte das Licht an".
Wer sein Smartphone eh immer im Wohnmobil hat, könnte sich dann Alexa und Fritzbox sparen.
Sprachsteuerung im Wohnmobil
Re: Sprachsteuerung
Dann könnte man eine 2 Kanal Relays Platine unter dem Armaturenbrett versteckt einbauen, welche die Zündung unterbricht und nur auf einen geheimen Befehl an die Alexa wie "Alexa blaue Tomaten" das Starten des Motors ermöglicht. Da kommt kein Dieb drauf!
Wer keine Alexa hat, kann ja die App auf seinem Smartphone für die Freischaltung verwenden.
Man kann auch an einem der Relays eine laute 12 Volt Sirene anschließen, und hinter dem Kühlschrankgitter verbauen.
Bei Gefahr dann "Alexa Hilfe Alarm" oder wenn draußen jemand herumschleicht, kann man schnell das Licht anmachen.
Hier in einem Karmann Missouri eingebaut:
Beim Karmann habe ich die vorhandenen einfachen Schalter gegen Wechselschalter ausgetauscht und mit den Relays eine Wechselschaltung gebaut.
So kann ich wahlweise über die Sprachsteuerung und über den normalen Schalter schalten.
Wer keine Alexa hat, kann ja die App auf seinem Smartphone für die Freischaltung verwenden.
Man kann auch an einem der Relays eine laute 12 Volt Sirene anschließen, und hinter dem Kühlschrankgitter verbauen.
Bei Gefahr dann "Alexa Hilfe Alarm" oder wenn draußen jemand herumschleicht, kann man schnell das Licht anmachen.
Hier in einem Karmann Missouri eingebaut:
Beim Karmann habe ich die vorhandenen einfachen Schalter gegen Wechselschalter ausgetauscht und mit den Relays eine Wechselschaltung gebaut.
So kann ich wahlweise über die Sprachsteuerung und über den normalen Schalter schalten.
Re: Sprachsteuerung im Wohnmobil
Der Anschluss an den Schalter war einfacher als ich gedacht hatte. Bei Ahorn, XGO, Rimor und ähnlichen Fahrzeugen wird das System von ArSilicii eingesetzt.
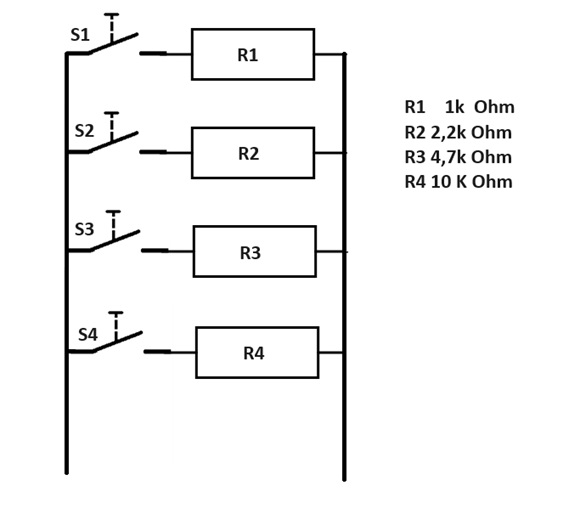
Die Fernbedienung an der Türe ist nur mit 2 Leitungen an das Bedienpanel angeschlossen
Der mittlere Taster ist direkt über eine separate 2 polige Leitung mit der Trittstufensteuerung verbunden.
Wird nun einer der 4 äußeren Taster gedrückt, wir der entsprechende Widerstand eingeschaltet und vom Bedienpanel ausgewertet.
Ich brauchte also nur die 2 Leitungen anzuzapfen und die entsprechenden Widerstände einzuschalten.
Das sollte auch mit der alten runden Fensterung funktionieren.
Der Hauptschalter in der Fernbedienung, schaltet übrigens nur die Beleuchtung aus, alle auch die Deckenbeleuchtung, welche die Fernbedienung nicht einschalten kann.
Anderes zum Beispiel die Wasserpumpe wird nicht ausgeschaltet, im Gegensatz zum Hauptschalter im Bedienpanel.
Die Dimmer Function muss am Bedienteil für das Licht und die Außenbeleuchtung vorher eingestellt werden.
So sieht das Ergebnis dann aus:
Die Außenbeleuchtung flimmert nicht wirklich, das liegt am Dimmer, der taktet das Licht.
Die Fernbedienung an der Türe ist nur mit 2 Leitungen an das Bedienpanel angeschlossen
Der mittlere Taster ist direkt über eine separate 2 polige Leitung mit der Trittstufensteuerung verbunden.
Wird nun einer der 4 äußeren Taster gedrückt, wir der entsprechende Widerstand eingeschaltet und vom Bedienpanel ausgewertet.
Ich brauchte also nur die 2 Leitungen anzuzapfen und die entsprechenden Widerstände einzuschalten.
Das sollte auch mit der alten runden Fensterung funktionieren.
Der Hauptschalter in der Fernbedienung, schaltet übrigens nur die Beleuchtung aus, alle auch die Deckenbeleuchtung, welche die Fernbedienung nicht einschalten kann.
Anderes zum Beispiel die Wasserpumpe wird nicht ausgeschaltet, im Gegensatz zum Hauptschalter im Bedienpanel.
Die Dimmer Function muss am Bedienteil für das Licht und die Außenbeleuchtung vorher eingestellt werden.
So sieht das Ergebnis dann aus:
Die Außenbeleuchtung flimmert nicht wirklich, das liegt am Dimmer, der taktet das Licht.

